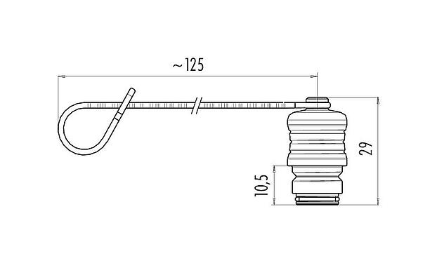
Caractéristiques générales
Plusless| Référence | 08 2587 000 000 |
| Design du connecteur | Capuchon de protection |
| Indice de protection | IP67 |
| Écart de température | -40 °C/+85 °C |
| Poids (g) | 4.74 |
| Numéro de tarif douanier | 85366990 |
| Pays d'origine | DE |
Matériaux
Plusless| Matériau du corps de contact | noir |
| Capuchon de protection matériel | PA |
| Matière du bracelet | PUR |
| Joint matériel | FPM/FKM |
| REACH SVHC |
None (No pollutants) |
| Numéro SCIP | SCIP-number not available |
Classifications
Plusless| eCl@ss 11.1 | 27-44-02-08 |
| ETIM 9.0 | EC002314 |
Avis général de non-responsabilité
- Des précautions de sécurité appropriées doivent être prises par l'utilisateur pour s'assurer que le connecteur ne peut pas être débranché accidentellement.

